METODO PARA LA FABRICACION DE UNA CELULA SOLAR LATERAL DE BANDA INTERMEDIA
Método para la fabricación de una célula solar lateral de banda intermedia
Nº Solicitud: P201001538 | Fecha solicitud: 03/12/2010
Invención de:
Elisa Antolín Fernández
Antonio Martí Vega
Antonio Luque López
Javier Olea Ariza
David Pastor Pastor
Álvaro Del Prado Millán
Ignacio Mártil De La Plaza
Germán González Díaz
Titulares:
Universidad Complutense de Madrid
Universidad Politécnica de Madrid
Resumen
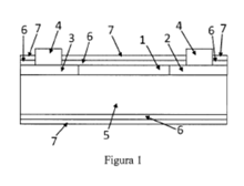
Es posible crear materiales de banda intermedia en silicio mediante la implantación iónica en dosis elevadas de elementos que produzcan centros profundos en el silicio. Sin embargo, el material de banda intermedia (4) se crea en la superficie de la oblea implantada (7) planteándose una dificultad técnica ya que, para fabricar una célula solar completa, resulta necesario envolver este material de banda intermedia entre un semiconductor de tipo p (5) y otro de tipo n (6) utilizando un proceso de baja temperatura que evite la segregación y formación de clústeres del elemento implantado. En esta patente, esta dificultad se resuelve creando la estructura p n mediante la deposición de capas de silicio amorfo hidrogenado de calidad a baja temperatura.
Sector de la técnica
Células solares, industria fotovoltaica, energía solar.
Consulta las oportunidades comerciales de esta invención:
Sección de Valorización y Comercialización
comercia@ucm.es
