DISPOSITIVO OPTO-ELECTRÓNICO Y MÉTODOS PARA COLIMAR Y DETERMINAR EL GRADO DE COLIMACIÓN DE UN HAZ DE LUZ
Dispositivo opto-electrónico y métodos para colimar y determinar el grado de colimación de un haz de luz
Nº Solicitud: P201500173 | Fecha solicitud: 06/03/2015
Invención de:
Luis Miguel Sánchez Brea
José María Herrera Fernández
Titulares:
Universidad Complutense de Madrid
Resumen
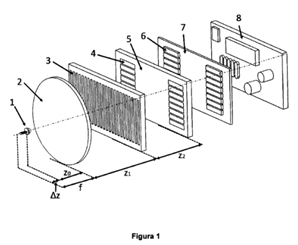
La presente invención se refiere a un dispositivo opto-electrónico para determinar el grado de colimación de un haz de luz que, mediante la incorporación de un elemento de colimación 2, también puede utilizarse para colimar haces. El dispositivo comprende una red de difracción 3, una máscara 5 que incluye una multiplicidad de ventanas 4 cada una de ellas con una red de difracción, estando las redes de difracción de las ventanas 4 desfasadas entre sí, una matriz 7 de fotodetectores 6 cuyo número puede ser igual o mayor al número de ventanas 4 de la máscara 5 o bien pueden estar ubicados en una matriz con distribución bidimensional (CMOS o CCD) y uno o más elementos de procesamiento de datos 8. La invención también incluye métodos para determinar el grado de colimación de un haz de luz o para colimar un haz.
Sector de la técnica
La presente invención se encuadra en el sector de Tecnología óptica y más concretamente en el sector de Dispositivos Opto-electrónicos.
Consulta las oportunidades comerciales de esta invención:
Sección de Valorización y Comercialización
comercia@ucm.es
